Qingdao Ruichen Sealing Technology Co., Ltd.
Qingdao Ruichen Sealing Technology Co., Ltd.
Produkter
X

Viskerring

Den dobbeltlæbede kombinationsstøvtætning lanceret af Ruichen Seal (en velkendt producent og leverandør af stempelstangstætninger i Kina) er sammensat af en fyldt PTFE-tætningsring og en O-ring. Den har tovejs støvbeskyttelse og automatiske slidkompensationsfunktioner, lav friktion, lang levetid og stærk tilpasningsevne og er meget udbredt i forskellige industrielle bevægelsesscenarier såsom frem- og tilbagegående, svingende og spiral.

Ydelse og applikationer

Den dobbeltlæbede kombinationsviskertætning er en tovejsviskertætning bestående af en PTFE-fyldt dobbeltlæbeviskerring og en O-ring. O-ringen giver forspænding og kompenserer for slid på PTFE-ringen. Den er velegnet til frem- og tilbagegående, oscillerende eller spiralbevægelser.


Driftsbetingelser

Tryk Mpa

Temperatur °C

Hastighed m/s

Medium

-

-35~+100 (matchende O-ring NBR)

6

Hydraulikolie, emulsion, vand mv.

-20~+200 (matchende O-ring FKM)


Eksempel på bestilling

Bestil Model RCF02-80-PTFE3-R01

RCF02 - Model 80 - Skaftdiameter PTFE3 - Generel modificeret PTFE RO1 - Matchende gummimaterialekode

Nitril (NBR) - R01, fluorcarbon (FKM) - RO2

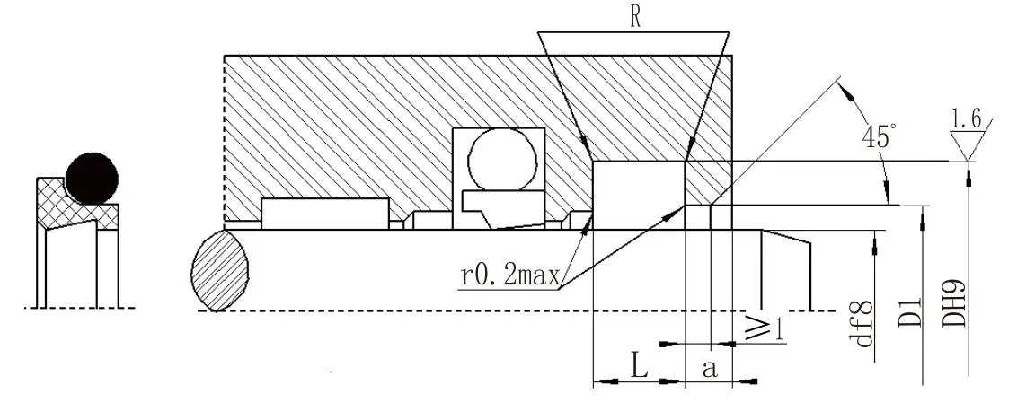
Specifikationsparametertabel (produkter af enhver størrelse inden for parameterområdet kan leveres)

Skaftdiameterområde d f8

Rille diameter D H9

Rillebredde L+0.2

Åbent hul diameter

D1H11

Åbent huls bredde a≥

Afrundede hjørner R≤

O-rings tråddiameter

d0

4~11

d+4,8

3.7

d+1,5

2

0.4

1.80

12~64

d+6,8

5.0

d+1,5

2

0.7

2.65

65~250

d+8,8

6.0

d+1,5

3

1.0

3.55

251~420

d+12,2

8.4

d+2,0

4

1.5

5.30

421~650

d+16,0

11.0

d+2,0

4

1.5

7.00

651~1500

d+20,0

14.0

d+2,5

5

2.0

8.60


Hot Tags: Viskerring
Send forespørgsel
Kontaktoplysninger
Få konkurrencedygtige priser, teknisk support og hurtige svar. Send dine specifikationer til Ruichen for skræddersyede tætningsløsninger. Gratis prøver til rådighed.
X
Vi bruger cookies til at tilbyde dig en bedre browsingoplevelse, analysere trafik på webstedet og tilpasse indhold. Ved at bruge denne side accepterer du vores brug af cookies. Privatlivspolitik
Afvise Acceptere