Qingdao Ruichen Sealing Technology Co., Ltd.
Qingdao Ruichen Sealing Technology Co., Ltd.
Produkter
X

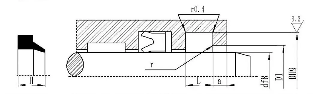
Viskerpakning GP6

Som en førende producent og leverandør af stempelstangstætninger i Kina er Ruichen Seals' GP6 støvring designet specielt til stempelstænger med stor diameter. Fremstillet af nitrilgummi (NBR) (fluorgummi (FKM) er valgfrit til høje temperaturer), det blokerer effektivt indtrængen af ​​forurenende stoffer, har fremragende slidstyrke og miljøtilpasningsevne og forbedrer betydeligt pålideligheden og levetiden af ​​hydrauliske systemtætninger.

GP6-viskere bruges til at forhindre forurenende stoffer i at trænge ind i hydraulik- og tætningssystemer. Fremstillet af NBR (nitrilgummi) eller FKM (fluoreret gummi) til højtemperaturapplikationer, bruges de primært til støvtætning af stempelstænger med stor diameter.


Tryk Mpa

Temperatur °C

Hastighed m/s

Medium

-

-35~+100 (NBR)

1

Hydraulikolie, emulsion, vand mv.

-20~+200 (FKM)


Mærkningsmetode GP6-70*80,6*5,3/7 Model-d*D*L/H



Hot Tags: Viskerpakning GP6
Send forespørgsel
Kontaktoplysninger
Få konkurrencedygtige priser, teknisk support og hurtige svar. Send dine specifikationer til Ruichen for skræddersyede tætningsløsninger. Gratis prøver til rådighed.
X
Vi bruger cookies til at tilbyde dig en bedre browsingoplevelse, analysere trafik på webstedet og tilpasse indhold. Ved at bruge denne side accepterer du vores brug af cookies. Privatlivspolitik
Afvise Acceptere