O-ringe er de mest populære sæler, der bruges i hydrauliske, pneumatiske komponenter og systemenheder, og er vidt brugt i forskellige tætningsbegivenheder.
O-ringe kan bruges som forseglingselementer såvel som kraftanvendte elementer til hydrauliske glideforseglinger og støvringe. Under specificerede temperaturer, tryk og forskellige væske- og gasmedier kan disse produkter fungere som tætninger i en statisk eller bevægelig tilstand. Det kan siges, at inden for det industrielle felt, hvad enten det er en enkelt segl til reparation og vedligeholdelse, eller i applikationer såsom rumfart, bilindustri og generel industri, er O-ringe næsten overalt.
Produktfunktioner og applikationer:
O-ringe har mange fordele:
(1) Velegnet til forskellige tætningsformer, herunder statisk tætning og dynamisk tætning.
(2) Velegnet til forskellige bevægelsestilstande, såsom rotationsbevægelse, aksial frem- og tilbagegående bevægelse eller kombineret bevægelse.
(3) egnet til en række forskellige tætningsmedier, herunder olie, vand, gas, kemiske medier eller andre blandede medier;
(4) tværsnitsstrukturen er ekstremt enkel, og den har en selvforseglende virkning, pålidelig tætningsydelse, kompakt struktur og let samling og demontering;
(5) Der er mange typer materialer;
(6) lave omkostninger;
(7) Den dynamiske friktionsmodstand er relativt lille.
Listen over O-ring-standarder er vist i nedenstående tabel:
| Tabel 1-1 Liste over O-ring-standarder | |||||||
| Standard | O-ring tværsnitsdiameter D2 |
![]() |
|||||
| Amerikansk standard som 568 British Standard BS 1516 |
1.7 8 |
2.62 | 3.53 | 5.33 | 6.99 | - | |
| Japanese Standard JIS B 2401 | 1.9 | 2.4 | 3.1 | 3.5 | 5.7 | 8.4 | |
| International standard IS0 3601/1 Tysk standard DIN 3771/1 Kinesisk standard GB 3452.1 | 1.8 | 2.65 | 3.55 | 5.30 | 7.00 | - | |
| Kinesisk standard GB1235 | 1.9 | 2.4 | 3.1 | 3.5 | 5.7 | 8.6 | |
| Foretrukne metriske størrelser | 1.0 | 1.5 | 2.0 | 2.5 | 3.0 | 3.5 | |
| 4.0 | 4.5 | 5.0 | 5.5 | 6.0 | 7.0 | ||
| 8.0 | 10.0 | 12.0 | - | - | - | ||
| Amerikansk standard som 568 (900 serie) |
1.0 2 |
1.42 | 1.63 | 1.83 | 1.98 | 2.08 | |
|
2.2 1 |
2.46 | 2.95 | 3.00 | - | - | ||
Forseglingsmekanisme
O-ringen er et automatisk tovejs tætningselement. Under installationen bestemmer dens radiale og aksiale forudkomprimering den indledende tætningsevne for selve O-ringen, hvilket øges med stigningen i systemtrykket.
(1) Ukomprimeret tilstand
(2) komprimeret tilstand uden pres
(3) pres
Præstationsparametre
Tabel 1-2 O-ring performance-parametre
| Standard | Statisk segl | Dynamisk segl |
| Arbejdspress | Uden at fastholde ring kan det maksimale nå 20MPa; Med fastholdelsesring kan det maksimale nå 40MPa: Med speciel fastholdelsesring kan det maksimale nå 200mpa | Uden at fastholde ring kan det maksimale tryk nå 5MPa; Med fastholder ring, højere pres |
| Hastighed | Frem- og tilbagegående 0,5 m/s max, roterende 2 m/s max | |
| Temperatur | Generelle lejligheder: -30 ~+110, specielle lejligheder: -60 ~+250, roterende lejligheder: -30 ~+80 | |
| Medium | Se (Materialeegenskaber Tabellen) | |
O-ring valg
1. Arbejdsmedium og arbejdsforhold
Når man vælger O-ringmaterialet, skal kompatibiliteten med arbejdsmediet først overvejes, og arbejdsvilkårene såsom tryk, temperatur, kontinuerlig arbejdstid og driftscyklus for forseglingsdelen skal også overvejes. Hvis det bruges i en roterende situation, skal temperaturstigningen forårsaget af friktionsvarme overvejes. Forskellige tætningsmaterialer har forskellige fysiske og kemiske egenskaber, se tabellen "Materialeegenskaber" for detaljer.
2. tætningstype og installations rillestørrelse
(1) I henhold til tætningsformen kan den opdeles i: statisk tætning (tætning uden relativ bevægelse mellem tilstødende overflader) og dynamisk tætning (tætning med frem- og tilbagegående bevægelse mellem forseglede dele);
(2) I henhold til formålet med tætning kan det opdeles i: hulstætning, skaftstætning og roterende tætning;
(3) I henhold til installationsformularen kan den opdeles i: aksial installation (dens tværsnit er aksialt deformeret efter installation) og radial installation (dens tværsnit er radialt deformeret efter installationen).
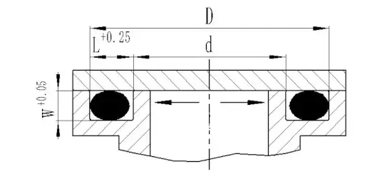
①Axial statisk tætning
Internt tryk: Den ydre diameter af O-ringen og den ydre diameter af rillen D skal dybest set være tæt på eller større end 1 ~ 3%.
Eksternt tryk: Den indre diameter af O-ringen skal være tæt på eller lidt mindre end den indre diameter D af rillen, men ikke mindre end 6%.
Tabel 1-3 Axial statisk tætningsinstallation Groove Dimensions
| O-ring tråddiameter D2 | Groove dybde W+0,05 | Groove bredde L+0,25 | O-ring tråddiameter D2 | Groove dybde W+0,05 | Groove bredde L+0,25 | O-ring tråddiameter D2 | Groove dybde W+0,05 | Groove bredde L+0,25 |
| 1 | 0.7 | 1.4 | 2.7 | 2.1 | 3.8 | 5.7 | 4.6 | 7.6 |
| 1.2 | 0.9 | 1.6 | 2.8 | 2.1 | 4 | 6 | 4.8 | 8.1 |
| 1.25 | 0.9 | 1.7 | 3 | 2.3 | 4.1 | 6.5 | 5.3 | 8.6 |
| 1.3 | 1 | 1.7 | 3.1 | 2.4 | 4.2 | 6.99 | 5.7 | 9.7 |
| 1.5 | 1.1 | 2.1 | 3.5 | 2.7 | 4.8 | 7 | 5.7 | 9.7 |
| 1.6 | 1.2 | 2.2 | 3.53 | 2.7 | 4.9 | 7.5 | 6.2 | 10.1 |
| 1.78 | 1.3 | 2.5 | 3.55 | 2.7 | 5 | 8 | 6.6 | 10.7 |
| 1.8 | 1.3 | 2.6 | 3.6 | 2.8 | 5.1 | 8.4 | 7.1 | 11.1 |
| 1.9 | 1.4 | 2.7 | 3.7 | 2.9 | 5.2 | 8.5 | 7.2 | 11.3 |
| 2 | 1.5 | 2.8 | 4 | 3.1 | 5.5 | 9 | 7.6 | 12 |
| 2.2 | 1.6 | 3.1 | 4.3 | 3.3 | 5.9 | 9.5 | 8.1 | 12.5 |
| 2.4 | 1.8 | 3.3 | 4.5 | 3.5 | 6.1 | 10 | 8.5 | 13.6 |
| 2.5 | 1.9 | 3.5 | 5 | 4 | 6.7 | 10.5 | 8.9 | 14 |
| 2.6 | 2 | 3.6 | 5.3 | 4.2 | 7.2 | 11 | 9.4 | 14.7 |
| 2.62 | 2 | 3.7 | 5.33 | 4.2 | 7.3 | 12 | 10.4 | 15.7 |
| 2.65 | 2 | 3.8 | 5.5 | 4.5 | 7.4 | 15 | 13.2 | 19.4 |
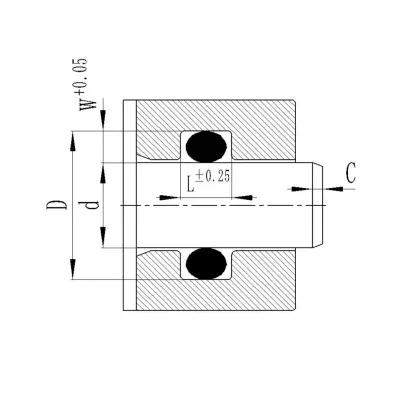
②Radial statisk tætning
Radial hulstætning: Installationsgrillen er på skaftet, og den indre diameter af O-ringen er lig med eller lidt mindre end rillebundsdiameteren d.
Radial akselforsegling: Installationsgrillen er i hullet, og den indre diameter af O-ringen og den forseglede skaftdiameter D er så tæt som muligt.
| Tabel 1-4 Dimensioner af Radial Static Seal Installation Groove | |||||||||||
| O-ring tråddiameter D2 | Groove dybde W+0,05 | Groove bredde L ± 0,25 | C | O-ring tråddiameter D2 | Groove dybde W+0,05 | Groove bredde L ± 0,25 | C | O-ring tråddiameter D2 | Groove dybde W+0,05 | Groove bredde L ± 0,25 | C |
| 1 | 0.75 | 1.3 | 1.2 | 2.7 | 2.1 | 3.6 | 2 | 5.7 | 4.6 | 7.6 | 3.5 |
| 1.2 | 0.9 | 1.6 | 1.2 | 2.8 | 2.2 | 3.7 | 2 | 6 | 4.9 | 7.9 | 3.5 |
| 1.25 | 0.9 | 1.7 | 1.2 | 3 | 2.3 | 3.9 | 2.5 | 6.5 | 5.4 | 8.4 | 4 |
| 1.3 | 1 | 1.7 | 1.2 | 3.1 | 2.4 | 4 | 2.5 | 6.99 | 5.8 | 9.2 | 4 |
| 1.5 | 1.1 | 2 | 1.5 | 3.5 | 2.7 | 4.6 | 2.5 | 7 | 5.8 | 9.3 | 4 |
| 1.6 | 1.2 | 2.1 | 1.5 | 3.53 | 2.7 | 4.7 | 2.5 | 7.5 | 6.3 | 9.8 | 4 |
| 1.78 | 1.3 | 2.4 | 1.5 | 3.55 | 2.8 | 4.7 | 2.5 | 8 | 6.7 | 10.5 | 4 |
| 1.8 | 1.3 | 2.4 | 1.5 | 3.6 | 2.8 | 4.8 | 2.5 | 8.4 | 7.1 | 10.9 | 4.5 |
| 1.9 | 1.4 | 2.5 | 1.5 | 3.7 | 2.9 | 4.9 | 2.5 | 8.5 | 7.2 | 11 | 4.5 |
| 2 | 1.5 | 2.6 | 2 | 4 | 3.2 | 5.2 | 3 | 9 | 7.7 | 11.7 | 4.5 |
| 2.2 | 1.7 | 3 | 2 | 4.3 | 3.4 | 5.6 | 3 | 9.5 | 8.2 | 12.3 | 4.5 |
| 2.4 | 1.8 | 3.2 | 2 | 4.5 | 3.6 | 5.8 | 3 | 10 | 8.6 | 13 | 5 |
| 2.5 | 1.9 | 3.3 | 2 | 5 | 4 | 6.5 | 3 | 10.5 | 9 | 13.8 | 5 |
| 2.6 | 2 | 3.4 | 2 | 5.3 | 4.3 | 7 | 3 | 11 | 9.5 | 14.3 | 5 |
| 2.62 | 2 | 3.5 | 2 | 5.33 | 4.3 | 7.1 | 3.5 | 12 | 10.5 | 15.6 | 5 |
| 2.65 | 2 | 3.6 | 2 | 5.5 | 4.5 | 7.2 | 3.5 | 15 | 13.2 | 19.2 | 5 |
③vacuum segl (statisk segl)
Vakuumemballage er en O-ringforsegling under særlige omstændigheder, og trykket fra det forseglede system er lavere end 1 standardatmosfære (101.325 kpa).
Dets applikations- og installations rillestørrelseskrav er som følger:
en. Installationsgrillepladsen er næsten 100% fyldt med mængden af O-ringen efter deformation, hvilket kan øge kontaktområdet og forlænge diffusionstiden gennem elastomeren.
b. Kompressionsdeformationen af O-ring tværsnittet er ca. 30%.
c. Vakuumfedt skal bruges (til at reducere lækage).
d. Overfladefremheden af hver overflade af installationsgrillen skal betragtes som højere end kravene til hydrauliske statiske tætninger, og procentdelen af kontaktområdet FTP skal være større end 50%.
e. O-ringen skal være lavet af materialer, der er kompatible med gas, lav permeabilitet og deformation med lav komprimering. Her anbefaler vi brugen af fluororubber.
④Radial hydraulisk dynamisk tætning
Da O-ringen vil blive forskudt under bevægelse, er dens anvendelse begrænset til lavere tryk (uden at fastholde ring) og hastighed (frem- og tilbagegående bevægelse = 0,5 m/s; roterende bevægelse = 2,0 m/s).
3. hårdhedsfaktor
Hårdheden af O-Ring-materialet er en af de vigtige indikatorer til evaluering af tætningsydelsen. Hårdheden af O-ringen bestemmer komprimeringen af O-ringen og det maksimale tilladte ekstruderingsgap af rillen. Generelt leveres nitrilgummi på land A70, som kan opfylde de fleste af brugsbetingelserne.
4. ekstruderingsgap
Den maksimale tilladte ekstruderingsgap G Max er relateret til systemtrykket, tværsnitsdiameteren af O-ringen og materialets hårdhed. Generelt, jo højere arbejdstryk, jo mindre er den maksimale tilladte ekstruderingsgap g max. Hvis gabet G overstiger det tilladte interval, vil det medføre, at O-ringen ekstruderes eller endda beskadiges.
Det anbefales at bruge en tilbageholdelsesring i radiale dynamiske sæler, som kan forhindre, at O-ringen presses ind i det radiale hul og øger også arbejdstrykket. Når trykket overstiger 5MPa, og den indre diameter er> 50 mm, og trykket er større end 10MPa, og den indre diameter er <50 mm, anbefales det at bruge en tilbageholdelsesring.
For statiske tætningsapplikationer anbefales det at matche H7/G6.
5. Træk- og komprimeringshastigheder
Når O-ringen er installeret i rillen, strækkes den og komprimeres til en vis grad. Hvis stræknings- og komprimeringsværdierne er for store, vil tværsnittet af O-ringen blive for meget udvidet eller reduceret. For ikke at påvirke dens forseglingseffekt anbefales det at følge de følgende to punkter strengt:
(1) Til radial hulforsegling: O-ringen er fortrinsvis i en strakt tilstand (dvs. D> D2), og den maksimale tilladte strækningshastighed er 6%, fordi en 1%strækning vil tilsvarende reducere tværsnitsdiameteren W med 0,5%.
Forlængelse = (D-2/D2) × 100% < 6%
I ligningen: D-den nederste diameter på den monterende rille i det radiale hulstætning
D2-den indre diameter på O-ringen
(2) For radiale skaftforseglinger komprimeres O-ringen fortrinsvis langs dens omkreds (dvs. D1> D), og den maksimale tilladte omkredskomprimeringshastighed er 3%.
Komprimeringsforhold = (D1-D)/D1 × 100% < 3%
I ligningen: D1-outer-diameter på O-ring
D-bottom diameter på montering af rille i radial akselstætning
6. O-ringe bruges som roterende skaft sæler
O-ringe kan også bruges som tætninger til lavhastighedsrotation og kortcyklus roterende aksler. Når omkredshastigheden er lavere end 0,5 m/s, kan O-ring-valget være baseret på normale designstandarder; Når den omkredshastighed er højere end 0,5 m/s, er det nødvendigt at overveje fænomenet, at den langstrakte gummiring vil krympe efter at være opvarmet (joulevarmefænomen), så den indre diameter af forseglingsringen vælges til at være ca. 2% større end diameteren af den forseglede aksel, og ovennævnte fænomenon kan undgås. Når O-ringen er installeret i rillen, komprimeres den radialt til at danne en fin korrugering og derved forbedre smøringsbetingelserne.
7. Installationskomprimeringskraft
Under installationen er kompressionskraften relateret til graden af indledende komprimering og materialets hårdhed. Figuren viser forholdet mellem enhedskomprimeringskraft og tværsnitsdiameter pr. Centimeter af tætningsomkretsen, som bruges til at estimere størrelsen på kompressionskraften, når O-ringen installeres.
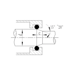
Lokal struktur design
Fordi O-ringen vil blive presset under installationen, for at undgå alvorlig skade, skal hulenden eller skaftets ende behandles til en 15 ° ~ 20 ° affasning, og kanterne skal afrundes og burrs fjernes. Hvis O-ringen skal passere gennem et tværgående hul under installationen, skal overgangshullet også afskales eller afrundes.
Hulfaner
Skaftfaner
Afskalning/afrunding af overgangshuller
Tabel 1-10 Minimum affyrlængde cmin
| Sektionsdiameter w | ≤1,78, 1,80 | ≤2,62, 2,65 | ≤3,53, 3,55 | ≤5,30, 5,33 | ≤ 7,00 | > 8.40 | |
| Minimum afmængder længde Cmin | 15 ° | 2.5 | 3.0 | 3.5 | 4.0 | 5.0 | 6.0 |
|
|
20 ° | 2.0 | 2.5 | 3.0 | 3.5 | 4.0 | 4.5 |
Faneroverflade ruhed: Rz≤4,0 μm Ra≤0,8 μm
Tilladelige afvigelser af form og overfladefejl
Vi klassificerer former og overfladefejl ved O-ringe i to kategorier: N og S.
(1) N: Repræsenterer vores standardkvalitet, som fuldt ud kan imødekomme krav til høj kvalitet og daglige applikationer.
(2) S: Velegnet til lejligheder med meget høje krav til form og overfladefejl, hvilket normalt kræver store produktion og høje omkostninger.
Mold forkert justering d
Formopsplitning flash h
Formplitting af krympning
Overdreven beskæring
Flowmærker
Andre defekter
| Tabel 1-8 O-ring form og overfladefejl | ||||
| Defekter | Kategori | Tilladelig afvigelse af sektion W | ||
| ≤2,65 | > 2.65 | |||
| Fejlmodul | Bredde h | N | 0.06 | 0.12 |
| Flashbeløb | Bredde h | S | 0.05 | 0.09 |
| Skille krympning | Bredde h | N | 0,1 · w | 0,1 · w |
| Bredde h | 0.05 | 0.09 | ||
| Bredde h | S | 0,05 · w | 0,05 · w | |
| Bredde h | 0.05 | 0.09 | ||
| Overdreven beskæringsbredde (overskydende trimning er tilladt, men det skal være inden for afvigelsesområdet for tværsnittet, og overfladen skal holdes glat) | Bredde h | N | 0.4 | 1.2 |
| Bredde h | S | 0.4 | 0.7 | |
| Flowmærker (periferiel retning) | Tykkelse a | N | 0,1 · id | 0,1 · id |
| Dybde f | 0.03 | 0.06 | ||
| Tykkelse a | S | 0,05 · id | 0,05 · id | |
| Dybde f | 0.03 | 0.06 | ||
| Andre defekter | Tykkelse a | N | 0,3 · w | 0,3 · w |
| Dybde f | 0.05 | 0.09 | ||
| Tykkelse a | S | 0,1 · w | 0,1 · w | |
| Dybde f | 0.03 | 0.06 | ||
| Overflades ruhed | μm | N | 10 | 16 |
| μm | S | 5 | 6 | |
| Støj | / | N | Tillade | |
| / | S | Tillade | ||
Opbevaringsguide
For at undgå de fysiske og kemiske egenskaber ved O-ringe forårsaget af langvarig opbevaring er et rimeligt opbevaringsmiljø nødvendigt for at sikre, at O-ringe ikke påvirkes under langvarig opbevaring.
Under opbevaring skal følgende punkter observeres:
(1) Opbevaringsmiljøet skal være tørt, støvfrit og godt ventileret;
(2) temperaturen skal være over +15 ℃ men ikke overstige +20 ℃;
(3) opbevares i hule emballagesække så meget som muligt, og undgå ingredienser, der beskadiger materialet i O-ringen;
(4) Undgå direkte sollys i opbevaringsmiljøet og hold dig væk fra ultraviolette lyskilder;
(5) Ved opbevaring skal O-ringe være i en stressfri tilstand, det vil sige ikke strakt, ikke komprimeret og ikke deformeret:
(6) Det er forbudt at binde med streng eller hænge på metaldele.







Adresse
No.1 Ruichen Road, Dongliuting Industrial Park, Chengyang District, Qingdao City, Shandong Province, Kina
Tlf