Opbevaringsringen bruges i forbindelse med O-ring- eller stjernesringen for at forhindre tætningsringen i at blive presset ind i kløften på lavtrykssiden under trykets virkning. Når trykket fortsætter med at stige, er tætningsringen beskadiget af "ekstrudering" og undlader til sidst ikke at forsegle. Hvis der anvendes en tilbageholdelsesring, kan "ekstrudering" af tætningsringen forhindres. Derfor er fastholdelsesringen et supplement til tætningsringen. Det er ikke et segl i sig selv, men det øger arbejdstrykområdet for tætningsringen.
Opbevaringsringen bruges i forbindelse med O-ringen for at forhindre, at den "ekstrudering", beskytter O-ringen effektivt, øger dens levetid og tillader et større tætningsgap og derved reducerer behandlingsomkostningerne.
Produktfunktioner og applikationer:
Opbevaring af ringform og strukturtype
Tekniske data
Arbejdstryk: Statisk tætning kan nå ca. 200MPa (afhængigt af den materielle og tætningstype af fastholdelsesringen), kan frem- og tilbagegående tætning nå ca. 40MPa. Sving/langsom hastighedsrotation kan nå ca. 15MPa.
Hastighed: Gensidig og rotation kan nå ca. 2 m/s (afhængigt af materialet).
Bestillingsstandarder
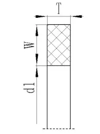
(1) T01 -serie -fastholdelsesringe er sammensat af den indre diameter D1, bredde W og tykkelse T.
Eksempel: T01-00356 D1: 3,56*W: 1,35*T: 1,23
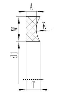
(2) T02 -serie -fastholdelsesringe er sammensat af den indre diameter D1, bredde W og tykkelse A og T.
Eksempel: T02-027 D1: 33,78*W: 1,35*A: 1,14*T: 1,24



Adresse
No.1 Ruichen Road, Dongliuting Industrial Park, Chengyang District, Qingdao City, Shandong Province, Kina
Tlf